炒股就看金麒麟分析师研报炒股最好用的手机软件,权威,专业,及时,全面,助您挖掘潜力主题机会!
8月14日,A股上市公司杉杉股份(维权)发布《关于间接控股股东部分股份将被司法处置的提示性公告》。公告显示,本次将被司法拍卖的股份为宁波杉杉股份有限公司(下称“公司”)间接控股股东杉杉控股有限公司(下称“杉杉控股”)持有的公司无限售流通股4,260,200股,占其持有公司股份总数的11.50%,占公司总股本的0.19%。目前上述股份处于冻结状态。
(资料来源:公司公告)
目前,公司控股股东及其一致行动人合计持有公司股份592,849,126股,占公司总股本的26.36%。如本次拍卖全部成交,公司控股股东及其一致行动人的持股将降至588,588,926股,占公司总股本的26.17%,预计不会导致公司控制权发生变化。
值得关注的是,股权拍卖的本质是企业隐性危机的显性释放。多数上市公司股权司法拍卖源于股东债务违约或质押爆仓,更深层的症结常在于“明股实债”等表外担保的连环引爆,这种债务结构的复杂性或使股东所持股权可能被多债权人瓜分。
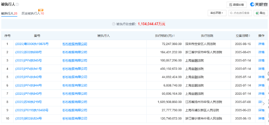
另外,据天眼查信息显示,杉杉股份控股股东杉杉控股已被多家法院列为失信被执行人,被执行总金额110.4亿元;其法定代表人周顺和也被限制高消费。
(资料来源:天眼查)
(资料来源:天眼查)
声明:本报告数据由第三方数据服务商提供,基于新浪财经上市公司研究院鹰眼预警系统自动生成。文章内容仅供参考,不构成任何投资建议。受限于第三方数据库质量等问题,我们无法对数据的真实性及完整性进行分辨或核验,具体以公司公告为准。因此本报告内容可能出现不准确、不完整、误导性的内容或信息,我们不对本报告内容在真实性、准确性及完整性等方面作出任何形式的确认或担保。任何仅依照本报告全部或者部分内容而做出的决定及因此造成的后果由行为人自行负责。如有疑问,请联系biz@staff.sina.com.cn。
海量资讯、精准解读,尽在新浪财经APP
责任编辑:公司观察炒股最好用的手机软件
粤有钱提示:文章来自网络,不代表本站观点。